江苏科技大学2024考研拟录取名单公示
随着2024考研复试、调剂、补录的进行,考研宝子们也能发现,考研变得越来越卷,2025考研如何准备呢?当然是参考往年数据了!2024研究生考试计划招生多少人?江苏科技大学公布2024年研究生考试拟录取名单公示,还在择校的2025考研同学快和海天考研老师一起了解一下具体专业安排及复试分数要求。
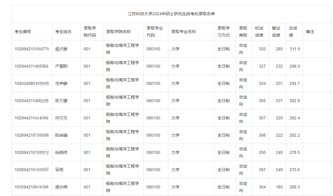
学院复试考查、研究生院审核,现将我校2024年硕士研究生拟录取名单予以公示:

1.公示时间: 2024年4月25日—5月10日。
2.此公示名单仅为我校拟录取名单,正式录取名单请以江苏省教育考试院和教育部审核批准的名单为准。
3.录取通知书需在全国录取检查工作结束后方可发放,预计发放时间为6月份,具体工作安排另行通知。请关注江苏科技大学研究生院官网或微信公众号“江苏科技大学研究生招生办公室”相关消息。
4.考生如对复试具体情况有疑问,可向相应学院咨询。如对上述拟录取结果有异议,请向我校研究生院(联系电话0511-84402362)或纪检部门反映(联系电话:0511-84402287)。
江苏科技大学研究生院
2024年4月25日

以上就是江苏科技大学2024年研究生拟录取名单公示,对自己成绩没有把握的同学,可以提前研究一下往年试题情况和分数情况,考研择校要慎重,多关注考研目标院校动态。海天考研集训营老师提炼核心知识点多维度分析政治、数学、英语、专业课核心考点,强化答题技巧,科学备考1v1合理定制规划,助力2025研究生初试、复试备考,快加入一起复习吧!






